Мастерская Сломал детальку? Или придумал, как починить другую? Пиши сюда!
Ответить
Перейти к новому Перейти к новому   Опции темы Опции просмотра
Нужен чертёж рокринга на 4-лапку | by Rabb
Непрочитано 06.05.2005, 12:05   # 1
 
Аватар для Rabb
 
Регистрация: 14.09.2004
Адрес: Рига
Возраст: 37
Сообщений: 118
Байк: урла
Rabb вне форума
По умолчанию Нужен чертёж рокринга на 4-лапку
Люди добрын помоги кто может!
В поиске не нашёл чертежей
У кого есть выложите плиз фотку сюда.
Заранее спасибо!

ЗЫ знаю что тема подобная этой создовалась много раз, просто в поиске и вправду нету ни одного чертежа на 4-лапку

БЕЗ ЛАПОК ops:
Цитата
Непрочитано 06.05.2005, 12:29   # 2
 
Аватар для -=V=-
 
Регистрация: 22.08.2003
Адрес: Рязань
Сообщений: 132
Отправить сообщение для -=V=- с помощью ICQ
-=V=- вне форума
Миниатюры
Нажмите на изображение для увеличения
Название: rock2_751.gif
Просмотров: 2441
Размер:	20.4 Кб
ID:	2522   Нажмите на изображение для увеличения
Название: rock_174.gif
Просмотров: 2430
Размер:	18.7 Кб
ID:	2523  
Цитата
Непрочитано 06.05.2005, 12:48   # 3
 
Аватар для Тошка
 
Регистрация: 19.08.2004
Адрес: Питер/Охта
Сообщений: 466
Отправить сообщение для Тошка с помощью ICQ
Тошка вне форума
Обрезай лапки нафиг...
Миниатюры
Нажмите на изображение для увеличения
Название: crank__6__122.jpg
Просмотров: 2334
Размер:	66.1 Кб
ID:	2524   Нажмите на изображение для увеличения
Название: crank__5__368.jpg
Просмотров: 2420
Размер:	56.2 Кб
ID:	2525   Нажмите на изображение для увеличения
Название: crank__3__202.jpg
Просмотров: 2335
Размер:	64.6 Кб
ID:	2526   Нажмите на изображение для увеличения
Название: crank__1__173.jpg
Просмотров: 2425
Размер:	42.3 Кб
ID:	2527  
Цитата
Непрочитано 06.05.2005, 14:40   # 4
 
Аватар для Rabb
 
Регистрация: 14.09.2004
Адрес: Рига
Возраст: 37
Сообщений: 118
Байк: урла
Rabb вне форума
Блин!!!!
БЛИН БЛИН БЛИН так и знал что забуду что то сказать
Вот мне чертеж как раз таки как Иудин рокринг нужен.
ИУДА поделись черетжом плиз!


-=v=- Спасибо за чертеж но мне без лапок нужен ops:

Блин бы ли бы у меня точные инструменты сделал бы сам, а мы даже в школе не проходили(и не собираемся) чертежи делать ops:
Цитата
Непрочитано 06.05.2005, 16:43   # 5
 
Аватар для HILL
 
Регистрация: 13.10.2004
Адрес: Рязань
Сообщений: 456
Отправить сообщение для HILL с помощью ICQ
HILL вне форума
Цитата:
Сообщение от -=V=-
Че раньше в моей теме не кинул
Цитата
Непрочитано 06.05.2005, 17:13   # 6
 
Аватар для Тошка
 
Регистрация: 19.08.2004
Адрес: Питер/Охта
Сообщений: 466
Отправить сообщение для Тошка с помощью ICQ
Тошка вне форума
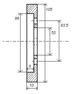
Вот. Все размеры снять не смог, т.к - надо снимать рок с шатунов . Расстояние между отверстий можешь разметить по звезде 22 или 32 зуба.
Миниатюры
Нажмите на изображение для увеличения
Название: rockring_151.jpg
Просмотров: 2407
Размер:	13.5 Кб
ID:	2536   Нажмите на изображение для увеличения
Название: rockring_212.jpg
Просмотров: 2388
Размер:	33.0 Кб
ID:	2537  
Цитата
Непрочитано 07.05.2005, 00:16   # 7
 
Аватар для Rabb
 
Регистрация: 14.09.2004
Адрес: Рига
Возраст: 37
Сообщений: 118
Байк: урла
Rabb вне форума
Иуда
Огромное тебе спасибо !
Реально выручил меня и друга моего
Цитата
Непрочитано 07.05.2005, 00:25   # 8
 
Аватар для Тошка
 
Регистрация: 19.08.2004
Адрес: Питер/Охта
Сообщений: 466
Отправить сообщение для Тошка с помощью ICQ
Тошка вне форума
Незачто!
Цитата
Непрочитано 07.05.2005, 00:29   # 9
 
Аватар для -=V=-
 
Регистрация: 22.08.2003
Адрес: Рязань
Сообщений: 132
Отправить сообщение для -=V=- с помощью ICQ
-=V=- вне форума
Цитата:
Сообщение от HILL
Цитата:
Сообщение от -=V=-
Че раньше в моей теме не кинул
ops: Извини но я не видел твою тему
Цитата
Непрочитано 07.05.2005, 00:38   # 10
 
Аватар для -=V=-
 
Регистрация: 22.08.2003
Адрес: Рязань
Сообщений: 132
Отправить сообщение для -=V=- с помощью ICQ
-=V=- вне форума
Такой рокринг я тоже хочу
А как зведа крепится?
Цитата
Непрочитано 07.05.2005, 01:42   # 11
 
Аватар для Тошка
 
Регистрация: 19.08.2004
Адрес: Питер/Охта
Сообщений: 466
Отправить сообщение для Тошка с помощью ICQ
Тошка вне форума
Звезда крепится непосредственно к шатунам , через рокринг с помощью проставочных шайб.
Миниатюры
Нажмите на изображение для увеличения
Название: crank_149.jpg
Просмотров: 2261
Размер:	69.5 Кб
ID:	2559  
Цитата
Непрочитано 07.05.2005, 06:23   # 12
 
Регистрация: 17.04.2002
Адрес: Aberdeen(Scotland)/Воронеж
Сообщений: 590
Отправить сообщение для trailmax с помощью ICQ
trailmax вне форума
блин, какие все беспомощные.. в школе не проходили как карандашом и линейкой пользоваться?
сел и нарисовал.... чтобы три кружочка нарисовать, померить четыре расстояния не надо быть гением.. или хотябы учить черчение в течении трех лет
Цитата
Нужен чертёж рокринга на 4-лапку | by Rabb
Ответить


Ваши права в разделе
Вы не можете создавать новые темы
Вы не можете отвечать в темах
Вы не можете прикреплять вложения
Вы не можете редактировать свои сообщения

BB коды Вкл.
Смайлы Вкл.
[IMG] код Вкл.
HTML код Выкл.

Быстрый переход


Часовой пояс GMT +4, время: 13:05.


Powered by vBulletin® Version 3.8.4
Copyright ©2000 - 2026, Jelsoft Enterprises Ltd. Перевод: zCarot